

手機瀏覽
更方便
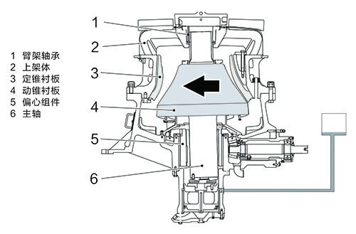
單缸液壓圓錐式破碎機是外形非常的簡潔緊湊,因為通過底部單缸的獨特設計結構,完成了排料口直接調節、預防過鐵、清腔的三個重要功能。
單缸液壓圓錐式破碎機有上架體及定錐、下架體、主軸機動錐、偏心套及扇形齒輪、小齒輪及水平軸、底部液壓缸、共七大部分組成。
![]()
技術參數:
機型,
腔型
給料口
較大給料力度
較小排料
較小排料
電機功率
主機重量
沖程PStrokeaStroke
沖程Stroke
沖程Stroke沖程Stroke沖程Stroke
PG100
16
22
16
22
A
150
120
12
15
37
B
130
105
10
11
33
31
90
6000
C
100
85
9
33
30
D
40
32
31
29
PG200
18
18
25
220
180
18
22
35
B
150
120
15
9
35
30
160
10600
80
60
12
35
30
40
32
6
35
30
PG300
25
32
25
32
A
230
190
20
25
45
40
B
150
125
17
20
45
40
250
15500
C
80
60
10
40
35
D
40
32
6
8
40
35
PG500
25
32
40
25
32
40
A
230
22
26
30
50
45
40
B
150
125
19
22
26
48
43
8
315
22500
C
100
80
12
14
16
40
35
30
50
40
8
10
12
30
25
20
機型
沖程
緊邊排料口Tightsidedischagegate(mm)
B
12
6
35
40
45
50
PG100
16
35-40
45-55
55-65
65-75
75-85
90-100
105-115
45-50
55-65
65-75
75-90
85-105
100-1251
115-135
PG200
18
65-75
75--90
85-105
100-125
135-150
160-175
170-190
25
90-110
110-130
125-155
160-180
185-210
PG300
25
100-120
110-135
130-160
150-180
170-200
200-230
230-260
250-290
270-310
32
110-135
130-150
160-200
180-220
200-250
230-2B0
260-310
280-320
300-340
PG500
25
100-120
120-150
140-170
160-190
190-220
220-250
250-280
280-310
330-370
32
120-150
170-200
200-230
250-270
280-300
310-340
370-420
430-500
40
180-200
210-240
250-280
300-330
339-380
370-420
430-500
Madel
Cavity
Model
Sroke
|
機型 |
型 |
給科口 |
較大給料粒度 |
較小排料Minimumdischarge(mm)較小排料Maximumdischargemm |
電機功率 (KW) |
主機重量 (KW) |
|||||
|
沖程Stroke |
沖程Stroke |
沖程Stroke |
沖程Stroke |
沖程Stroke 沖程Stroke |
|||||||
|
PGZ100 |
|
|
|
16 |
22 |
|
16 |
22 |
|
|
|
|
A |
300 |
250 |
35 |
35 |
|
65 |
60 |
|
75-90 |
8300 |
|
|
|
250 |
210 |
35 |
35 |
|
65 |
60 |
|
|
|
|
|
|
|
|
|
|
25 |
|
18 |
5 |
|
|
|
|
PCZ200 |
A |
300 |
280 |
27 |
30 |
|
65 |
60 |
|
110-160 |
11800 |
|
|
B |
250 |
210 |
|
28 |
|
|
|
|
|
|
|
|
|
|
|
25 |
32 |
|
25 |
32 |
|
|
|
|
PGZ300 |
A |
380 |
320 |
28 |
32 |
|
73 |
69 |
|
160-250 |
20000 |
|
B |
280 |
240 |
26 |
30 |
|
66 |
62 |
|
|
|
|
|
|
|
|
|
18 |
25 |
32 |
18 |
25 |
32 |
|
|
|
PGZ500 |
A |
500 |
420 |
50 |
55 |
60 |
8 |
5 |
70 |
250-315 |
33000 |
|
|
380 |
320 |
40 |
45 |
50 |
70 |
65 |
60 |
|
|
|
|
機型 |
沖程 |
|
|
緊邊排料口Tightsidedischargegate(mm) |
|
|
|
||||
|
35 |
40 |
45 |
50 |
55 |
60 |
65 |
70 |
75 |
|
||
|
PGZ100 |
|
135-150 |
145-165 |
155-175 |
165--185 |
175-190 |
180-205 |
|
|
|
|
|
20 |
160-180 |
170-200 |
180-210 |
190-220 |
200-230 |
205-235 |
|
|
|
|
|
|
PGZ200 |
18 |
160-190 |
180-210 |
200-230 |
230-250 |
250-270 |
270-300 |
|
|
|
|
|
25 |
190-240 |
210-260 |
230-280 |
260--310 |
290340 |
310-370 |
|
|
|
|
|
|
PGZ300 |
25 |
250-300 |
290-340 |
320-350 |
350-380 |
380-410 |
410-440 |
440-470 |
|
|
|
|
32 |
340-390 |
370-420 |
400-440 |
430-470 |
470-500 |
500-5101 |
530--540 |
|
|
|
|
|
PGZ500 |
18 |
|
|
300-350 |
330-380 |
370-420 |
400-450 |
430-480 |
460-510 |
500-550 |
|
|
|
|
|
|
500-550 |
550-600 |
600-650I |
650-700 |
700-750 |
750-800 |
|
|
|
|
|
|
|
|
650-700 |
700-750 |
750-800I |
825-875 |
900-950 |
950-1000 |
|